《哪吒2》票房突破50亿 出品方已注册多枚相关商标 - 超景影院

《哪吒2》票房突破50亿 出品方已注册多枚相关商标

时间:2025-10-22

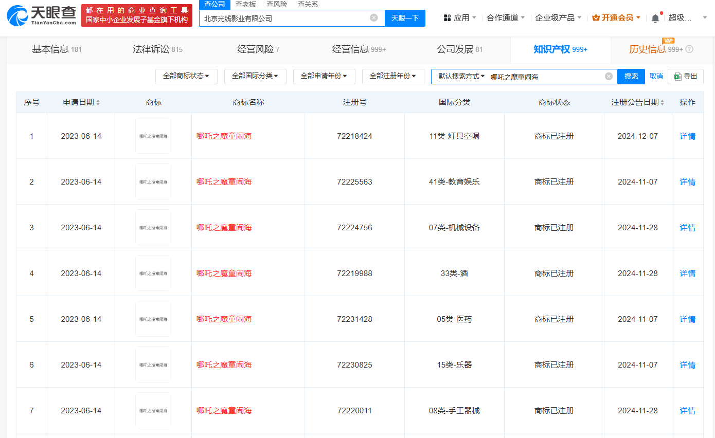
搜狐娱乐讯 据网络平台数据,《哪吒之魔童闹海》总票房(含点映及预售)已突破50亿元,即将追平《哪吒之魔童降世》所创造的50.35亿元票房。公开信息显示,《哪吒之魔童闹海》由光线传媒主投。

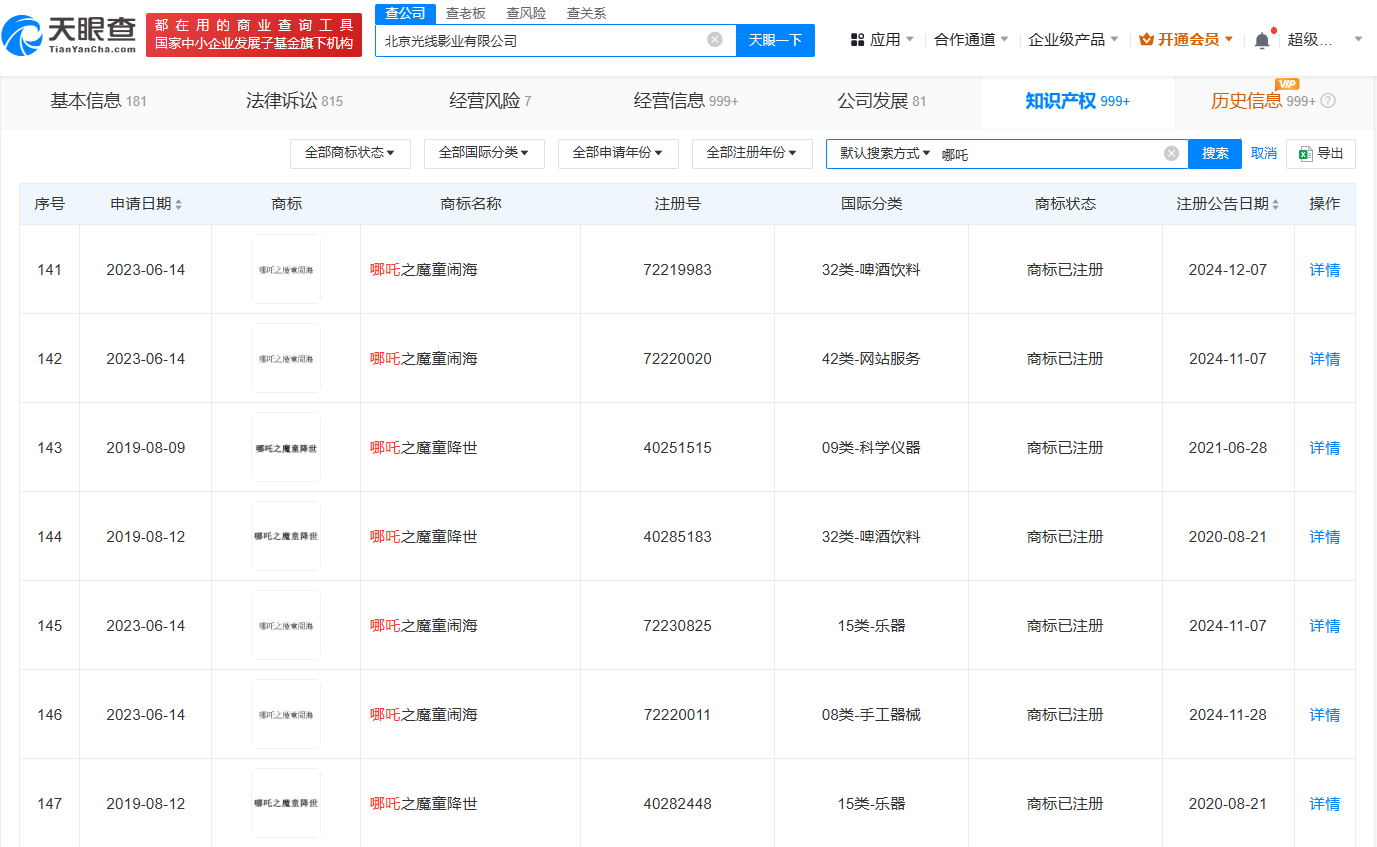
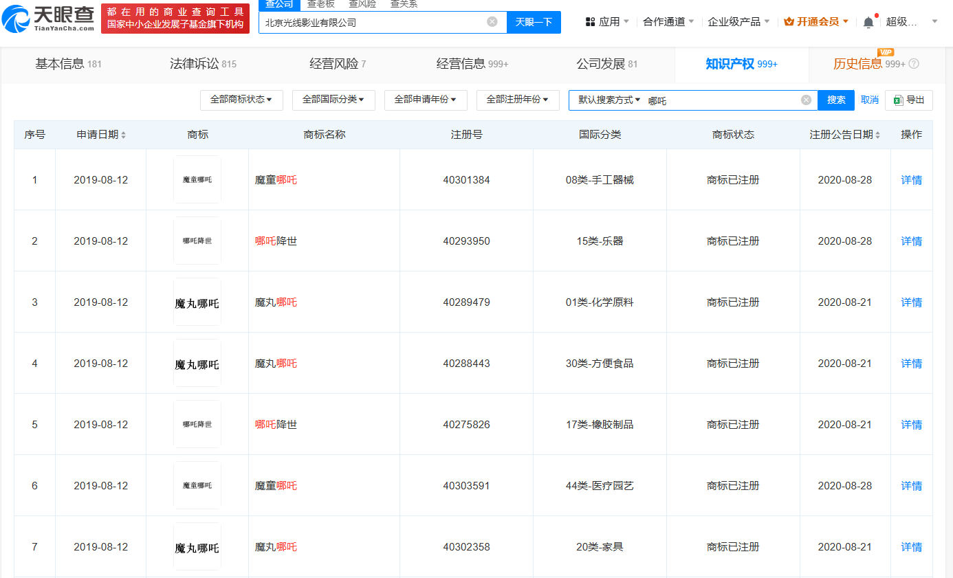
天眼查知识产权信息显示,光线传媒(300251)旗下北京光线影业有限公司已成功注册多枚“哪吒之魔童闹海”商标,国际分类涉及教育娱乐、餐饮住宿、广告销售等。此外,该公司还注册了多枚“魔童哪吒”“哪吒降世”“魔丸哪吒”“哪吒之魔童降世”商标。

最新资讯